最新公告: 诚信为本,市场在变,诚信永远不变...
联系我们
CONTACT US联系人:唐先生
电 话:18928853471
邮 箱:598308000@qq.com
地 址:广州市天河区珠村大粒沙路38号4栋101室






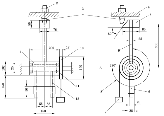
CG3105喷嘴耐冲击试验装置
一、概述:
试验装置满足GB25972-2024 6.45喷嘴耐冲击试验要求;
二、技术参数:
1.锤头材质:7系列铝合金,调质后阳极处理;
2.撞击能量:2.7 J;
3.摆锤速度:1.8m/s±0.15m/s;
4.锤头尺寸:80 mm×76 mm×50mm(长宽高),打击面与水平60°;
5.撞击次数:1次.
6.结构尺寸依据下图:
